Suzuki Swift Főfékhenger Felújítás: Biztonságos Fékezésért

Egy autó akkor teljesít igazán jól, ha a kívánságunknak megfelelő tempóban gyorsul és meg is tud állni igen gyorsan. Az autónk magabiztos irányíthatóságával nem csak a vezetési élményünk nő, hanem a biztonságunk is sokszorosára fokozódik. Ebben a cikkben a fékrendszer egyik hibajelenségét járjuk körbe.

Ha Suzuki Swifted fékje az utóbbi időben labilisabb, hosszabb úton fog, vagy kiszámíthatatlanul reagál, könnyen lehet, hogy a főfékhenger a ludas - főleg, ha 1996-2003 között gyártott, Bosch rendszerű nem ABS-es modelled van. Egy hibás fékhengerrel a fékezés veszélyesen lelassulhat, akár teljesen el is tűnhet a fékhatás.

A hibajelenségeket a legkönnyebb akkor észrevenni, ha már egy jó ideje mellettünk van négykerekű barátunk és kiismertük minden rezdülését. Ilyenkor még az is feltűnik, amit a szerelő sem hall meg. Viszont egy használt autó új tulajdonosaként nehezebben tűnik fel, ha a működésben valami megváltozik.

HOW TANDEM MASTER CYLINDER WORKS

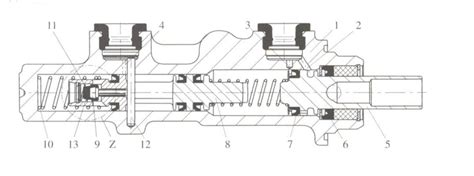
A Főfékhenger Működése és Feladata

A főfékhenger feladata, hogy fékezés erejét hidraulikus nyomássá alakítsa, ezzel biztosítsa a fékhatást. A főfékhenger a fékrendszer központi eleme, két egymás mögött lévő dugattyúval felszerelt tolórúd mozog benne a fékpedál lenyomásakor, ami nyomást gyakorol a fékfolyadékra.

Fékezéskor lenyomjuk a fékpedált, ezáltal a vákuum rúd megnyomja a dugattyút, a hengerben a lyukak bezáródnak, a nyomás nő. A fékpedál felengedésekor a nyomás csökken, a pedáldugattyú visszatér az eredeti helyzetébe. A rendszer maximálisan megbízható egy hirtelen fékezés alkalmával is, kivéve, ha szivárgás lép fel.

Swift fékjavítás útmutató

A főfékhenger működése

A Főfékhenger Hibáinak Jelei

A főkfékhenger hiba jelei között van a belső és külső szivárgás és a szelepprobléma is. Ha a főfékhenger hátsó furatából látjuk a folyadékot szivárogni, az általában tömítés hibára utal. Amikor azt tapasztalhatjuk, hogy a fékpedál lassan süllyed, mert dugattyúk nem tartják a nyomást, akkor nagy eséllyel a dugattyúk és a furat használódott el.

Megdöbbentő lehet, ha fékezéskor a fékpedál a padlóra esik. A főfékhenger hiba jele lehet, ha a fékpedál túl alacsonyan kezd el fogni. Szinte már a padlón. Más esetben úgy érzékeljük, hogy a pedál túl puha. Ennek oka valószínűleg az, hogy levegő halmozódott fel a rendszerben. Ebben az esetben a levegő hatalmas mennyiségű hőt termel a kompresszió során és fennáll a túlmelegedés veszélye. A legjobb, ha a légtelenítő szelep kicsavarásával és a fékpedál lenyomásával szabaduljunk meg a buborékoktól. A szelep záródása után a hiányzó fékfolyadékot természetesen pótolni kell.

Ezek a meghibásodások sok esetben hirtelen jelentkeznek és akár súlyos balesetet is okozhatnak. Éppen ezért egy-egy apró jelnél a fékbetéteket és a féknyerget is ellenőrizni, az elhasználódott főfékhengert cserélni kell.

Gyakori Hibajelenségek

  • Belső és külső szivárgás
  • Szelepproblémák
  • Fékpedál lassan süllyed
  • Fékpedál a padlóra esik
  • Puha fékpedál

Megoldás: Főfékhenger Felújítás vagy Csere

Stabil fékek, biztonságos suhanás: Suzuki Swift főfékhenger 1996-2003 Bosch rendszerű fékhez - egyszerű, megbízható megoldás!

Az egész országban azonnal cseredarab készletről, sokféle típus, ami a listánkban nem szerepel, azt is javítjuk!

Baleno acélfelni specifikációk

A Rewo-Pro szervizét felkeresve te is megtapasztalhatod a magas szintű szaktudást és a jó szervezettséget. ABS javításra szakosodott profi műhelyt találsz Gárdonyban és Budapesten is. Emellett itt találod a legjobb ABS kocka ár/érték arányt. A Rewo- Pro gépészmérnökei és elektromérnökei az ATE Continentalnál szereztek gyakorlatot és ők felügyelik a munkálatokat. Az 1 év helyett 5 év garanciával távozhatsz egy finom kávé után és el sem hiszed, mindez milyen gyorsan megvan. Hétvégén is hívható telefonszámmal és azonnali segítségnyújtással mindez nagyon könnyen elérhető.

Főfékhenger

Ne feledje, a biztonság az első!

Ismerje meg a Suzuki Hayabusát

tags: #suzuki #swift #főfékhenger #felújítás